Ngarep > Produk > Bolt > Hexagon Head Bolt > Rugged Hexagonal Bolt
        Rugged Hexagonal Bolt
        • Rugged Hexagonal BoltRugged Hexagonal Bolt
        • Rugged Hexagonal BoltRugged Hexagonal Bolt

        Rugged Hexagonal Bolt

        Bolt Hexagonal Rugged digawe saka baja lan minangka pengikat tahan karat sing dhuwur lan kuat digunakake ing konstruksi, mesin, lan industri otomotif. Baut hex sing kuat sing diprodhuksi dening Xiaoguo disedhiyakake ing saindenging jagad. Pembeli sing kasengsem olèh takon kapan wae.

        Kirim Pitakonan

        Deskripsi Produk

        perawatan lumahing produk

        Pangobatan lumahing ing  Baut Heksagonal Rugged mbantu nglindhungi saka karat lan bisa tahan luwih suwe ing kahanan sing beda-beda. Pilihan umum yaiku elektro-galvanizing, sing nempatake lapisan seng tipis ing bolt. Iki minangka cara sing efektif kanggo nyegah karat lan apik kanggo panggunaan industri umum. Galvanizing hot-dip nduweni lapisan seng sing luwih kenthel, saengga bolt Hexagonal bisa tahan ing kahanan ruangan utawa atos kaya konstruksi lan setelan laut.

        2.Dacromet minangka perawatan tahan korosi geometris sing nglindhungi bolt Hexagonal kanthi apik marang semprotan uyah lan bahan kimia, dadi pas kanggo panggunaan otomotif lan aeroangkasa. Plating nikel bisa nambah tampilan bolt Hexagonal Rugged lan menehi resistance karat Moderate, nggawe cocok kanggo piranti elektronik lan mesin. Kanggo kahanan sing dikarepake, plating krom nawakake resistensi nyandhang sing luwih apik lan permukaan sing luwih alus.

        Pangobatan kasebut ora mung nggawe bolt Hexagonal luwih suwe - uga njamin kinerja sing dipercaya ing macem-macem setelan, saka mesin saben dina nganti proyek teknik kritis. Dheweke nglindhungi bolt Hexagonal saka kelembapan, bahan kimia, lan nyandhang fisik.

        Pandhuan Panggunaan Produk

        Kanggo entuk sambungan sing apik lan nyenyet karo bolt hex, miwiti kanthi mriksa manawa benang bolt lan nut resik lan apik. Lebokake bolt liwat bolongan, banjur kencengake mur dhisik dhisik. Tansah nggunakake kunci torsi karo soket ukuran sing bener supaya ora dibunderaké sirah bolt. Nyenyet roto-roto kanggo Nilai dianjurake cocok kanggo bolts tartamtu lan karya. Kanggo wilayah kanthi getaran sing kuat, bolt hex sing ngunci dhewe bisa nyegah longgar.

        Sesi Q&A

        Kepiye carane baut Hexagonal Rugged sampeyan duwe ukuran sing akurat lan kualitas benang sing apik?

        Kita nggunakake mesin tempa lan rolling kadhemen kanggo nggawe saben bolt - iki mbantu nambah struktur lan kekuatan gandum.  Kontrol kualitas kita kalebu mriksa dimensi sing ketat kanggo ukuran sirah, diameter shank, lan dawa. Uga, saben bolt ngliwati verifikasi utas nganggo pengukur Go / No-Go. Priksa manawa pitch thread lan profil cocog karo standar sing ditemtokake, supaya bisa pas karo kacang lan bagean sing dipasang.

        Rugged Hexagonal Bolt

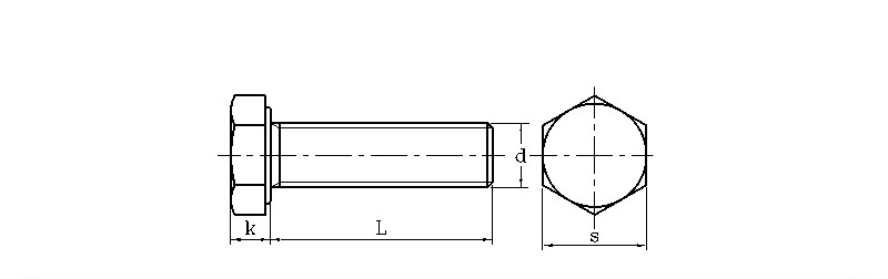
                                                                                                                                                                                                                     mm
        d S k d Utas
        maks min maks min maks min
        M3 5.32 5.5 1.87 2.12 2.87 2.98 0.5
        M4 6.78 7 2.67 2.92 3.83 3.98 0.7
        M5 7.78 8 3.35 3.65 4.82 4.97 0.8
        M6 9.78 10 3.85 4.14 5.79 5.97 1
        M8 12.73 13 5.15 5.45 7.76 7.97 1.25
        M10 15.73 16 6.22 6.58 9.73 9.96 1.5
        M12 17.73 18 7.32 7.68 11.7 11.96 1.75
        M14 20.67 21 8.62 8.98 13.68 13.96 2
        M16 23.67 24 9.82 10.18 15.68 15.96 2
        M18 26.67 27 11.28 11.7 17.62 17.95 2.5
        M20 29.67 30 12.28 12.71 19.62 19.95 2.5


        Hot Tags: Rugged Hexagonal Bolt
        Kategori sing gegandhengan
        Kirim Pitakonan
        Mangga bebas menehi pitakon ing formulir ing ngisor iki. Kita bakal mangsuli sampeyan ing 24 jam.
        X
        Kita nggunakake cookie kanggo menehi pengalaman browsing sing luwih apik, nganalisa lalu lintas situs lan nggawe konten pribadi. Kanthi nggunakake situs iki, sampeyan setuju kanggo nggunakake cookie. Kebijakan Privasi
        nolak Nampa